OEM ขั้วต่อโคแอกเซียล RF 2.4 มม Supplier

Ningbo Hanson Communication Technology Co. , Ltd. บ้าน / สินค้า / ขั้วต่อโคแอกเซียล RF / ขั้วต่อโคแอกเซียล RF 2.4 มม

ขั้วต่อโคแอกเซียล RF 2.4 มม

คำอธิบาย:

ขั้วต่อซีรีส์ 2.4 มม. เป็นขั้วต่อ RF ความถี่สูงที่ออกแบบมาสำหรับการใช้งานที่มีความแม่นยำสูงและความถี่สูง โดยเฉพาะอย่างยิ่งสำหรับโอกาสในการส่งสัญญาณที่ต้องใช้ช่วงความถี่ในการส่งสัญญาณ 40 GHz หรือสูงกว่านั้น เป็นตัวเลือกที่ดีเยี่ยมสำหรับการเชื่อมต่อสัญญาณประสิทธิภาพสูงในย่านความถี่ไมโครเวฟ การสื่อสารความเร็วสูง และฟิลด์การทดสอบและการวัดที่แม่นยำ

พารามิเตอร์:

ข้อมูลจำเพาะทางเทคนิคหลัก:
◆ ลักษณะความต้านทาน: 50Ω
◆ ช่วงความถี่: DC-50GHz
◆ ความต้านทานของฉนวน: ≥5000MΩ
◆ แรงดันไฟฟ้าทนต่ออิเล็กทริก: 500V(rms)
◆ อัตราส่วนคลื่นยืนแรงดันไฟฟ้า (VSWR): ≤1.35
◆ รอบการผสมพันธุ์: 500 ครั้ง

สอบถาม

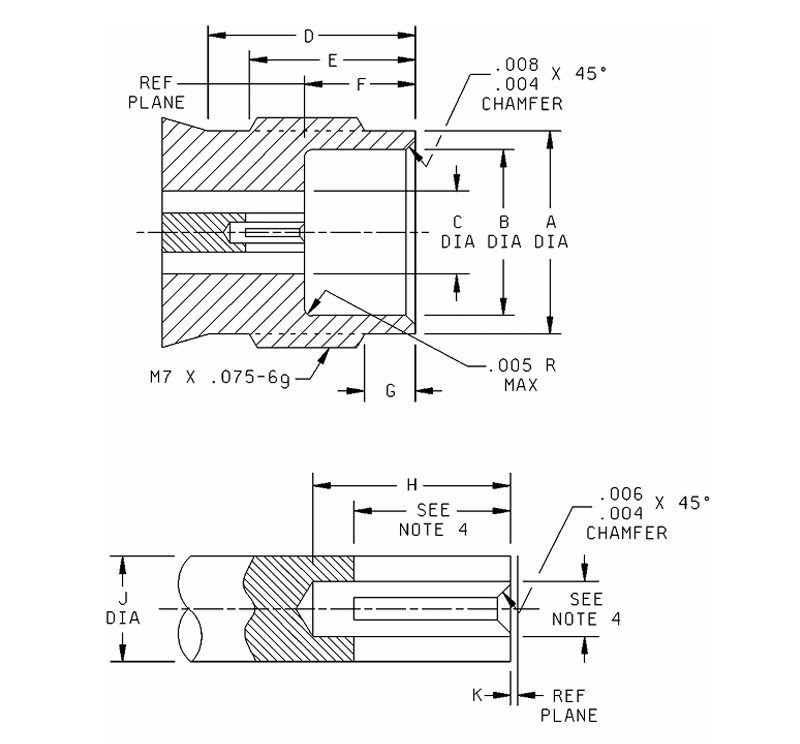
จดหมาย มิลลิเมตร (นิ้ว)
ขั้นต่ำ สูงสุด
4.725 (.186) 4.75(.187)
บี 2.393(.094) 2.408(095)
1.85 (.073) 2.45 (.096)
อี 4.75(.187) 4.85(.191)
เอฟ 1.035(.0407) 1.05 (.0413)
1.34 (.053) 1.45 (.057)
ชม 0.498(.0196) 0.523 (.0206)
เจ - 0.25(.010)
เค 0.00 (.000) 0.08 (.003)

หมายเหตุ:
1. ความยาวของเกลียววัดจากปลายน็อตข้อต่อ ขั้นต่ำ 4.37 มม. (.172 นิ้ว) 0.63 มม. (.025 นิ้ว)±0.25 มม. (.010 นิ้ว)
2. โดยให้น็อตข้อต่อเอียงไปในทิศทางไปข้างหน้า
3. ขนาดเป็นมิลลิเมตร
4. ข้อมูลเทียบเท่าหน่วยนิ้ว-ปอนด์มีไว้เพื่อเป็นข้อมูลเท่านั้น
5. รูเจาะเคาน์เตอร์ขั้นต่ำ 7 มม. (.276 นิ้ว)

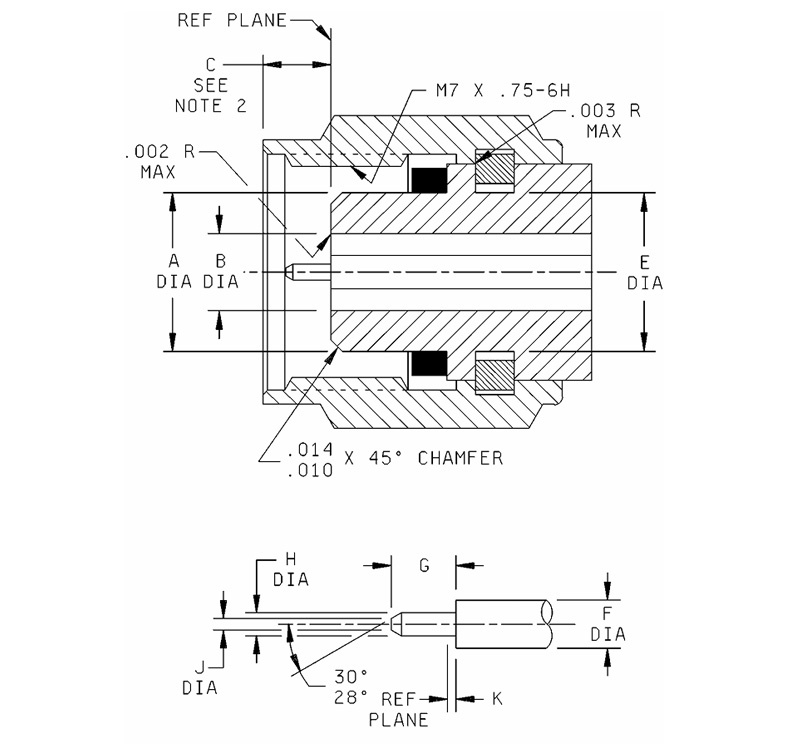
จดหมาย มิลลิเมตร (นิ้ว)
ขั้นต่ำ สูงสุด
4.725(.186) 4.75 (187)
บี 2.393 (.094) 2.408 (.095)
1.85 (.073) 2.45 (.096)
อี 4.75(.187) 4.85 (.191)
เอฟ 1.035(.0407) 1.05 (.0413)
1.34 (.053) 1.45 (.057)
ชม 0.498 (.0196) 0.523(.0206)
เจ - 0.25 (.010)
เค 0.00(.000) 0.08 (.003)

หมายเหตุ:
1. ความยาวของเกลียววัดจากปลายน็อตข้อต่อ ขั้นต่ำ 4.37 มม. (.172 นิ้ว) 0.63 มม. (.025 นิ้ว)±0.25 มม. (.010 นิ้ว)
2. โดยให้น็อตข้อต่อเอียงไปในทิศทางไปข้างหน้า
3. ขนาดเป็นมิลลิเมตร
4. ข้อมูลเทียบเท่าหน่วยนิ้ว-ปอนด์มีไว้เพื่อเป็นข้อมูลเท่านั้น
5. รูเจาะเคาน์เตอร์ขั้นต่ำ 7 มม. (.276 นิ้ว)

2.4 มม. SERIES
  • 2.4-JB2
    2.4-JB2
    แบบอย่าง ประเภทสายเคเบิล
    2.4-JB2 SFT-50-2,670-086
  • 2.4-J125
    2.4-J125
    แบบอย่าง ประเภทสายเคเบิล
    2.4-J125 125
  • 2.4-J230
    2.4-J230
    แบบอย่าง ประเภทสายเคเบิล
    2.4-J230 MILFLEX230

ให้อยู่ในการติดต่อ

[#ป้อนข้อมูล#]
ส่ง
เกี่ยวกับเรา
Ningbo Hanson Communication Technology Co. , Ltd.
Ningbo Hanson Communication Technology Co. , Ltd.
Ningbo Hanson Communication Technology Co., Ltd. is China ขั้วต่อโคแอกเซียล RF 2.4 มม Supplier and Custom ขั้วต่อโคแอกเซียล RF 2.4 มม Company. We are a manufacturer specializing in the production, processing, and trade of communication components, with more than 30 years of experience in RF coaxial connectors, adapters, and cable assemblies. ขณะนี้บริษัทได้พัฒนาโรงผลิตเครื่องจักร โรงชุบโลหะด้วยไฟฟ้า โรงประกอบ และกลุ่มซัพพลายเออร์ที่มั่นคงและเชื่อถือได้ วัตถุประสงค์ของบริษัทคือเพื่อให้ลูกค้าได้รับผลิตภัณฑ์คุณภาพสูง สินค้าหลัก คือตัวเชื่อมต่อโคแอกเซียล RF, อะแดปเตอร์, ชุดสายเคเบิลความถี่สูง และชุดสายเคเบิลอินเตอร์โมดูเลชั่นต่ำ นอกจากนี้บริษัทยังสามารถให้บริการสำหรับลูกค้าที่มีความต้องการเฉพาะเพื่อตอบสนองความต้องการพิเศษของลูกค้าสำหรับผลิตภัณฑ์ ผลิตภัณฑ์ของบริษัทมีการใช้กันอย่างแพร่หลายในการบินและอวกาศ สถานีฐานการสื่อสาร อุปกรณ์ทางการแพทย์ และสาขาเทคโนโลยีขั้นสูงอื่นๆ ในช่วงเวลาแห่งการปฏิรูปองค์กร นวัตกรรม การพัฒนา และการเติบโต บริษัทได้ริเริ่มที่จะเข้าร่วมระบบการจัดการคุณภาพระดับสากล ISO9001 และปรับปรุงระดับการจัดการอย่างต่อเนื่องเพื่อมอบผลิตภัณฑ์และบริการที่น่าพอใจมากขึ้นให้แก่ลูกค้าทั้งเก่าและใหม่
ข่าวล่าสุด
กำลังมองหาโอกาสทางธุรกิจอยู่ใช่ไหม?

ขอสายวันนี้